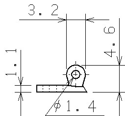
製品名 16207 外形(mm) L9.0×W4.5×H4.6 ネジ穴径(mm) 1.4 ピン穴径(mm) 1.1 色(メッキ処理) シルバー、ゴールド 素材 洋白 取り付けタイプ カシメ(プレス) 最低注文個数 20ペア(左右20個ずつ) 販売価格(税込) \6,480 一覧へ戻る