製品名 16208
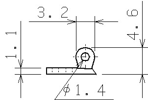
外形(mm) L9.0×W6.0×H4.6
ネジ穴径(mm) 1.4
ピン穴径(mm) 1.1
色(メッキ処理) シルバー、ゴールド
素材 洋白
取り付けタイプ カシメ(プレス)
最低注文個数 20ペア(左右20個ずつ)
販売価格(税込) \6,480